完全解决生活环境中难闻的气味甚至是过敏原,可能您需要的仅仅是一辆车,它可以衡量您预约的拼车服务是否糟糕。想象一下,在不久的将来,通过优步Uber和来福车Lyft乘坐出租车或其他共享出行服务,上车后却发现车内气味闻起来太糟糕,亦或者遇到引发过敏的空气而感到不适。福特已经申请了相关专利,可以彻底解决这一问题。
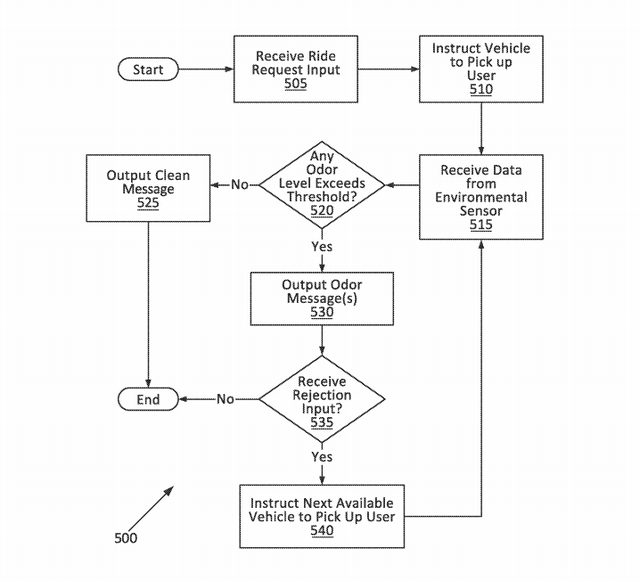
该专利申请由美国专利商标局在4月9日发布,详细说明了一套可以检测气味、然后计算乘客是否喜欢或者是否可以忍受某种气味的系统。首先,您在预约出租车或拼车服务时,通常会为您提供以下信息:司机姓名、司机所驾驶汽车的品牌、车型和颜色、车牌号、使用哪种APP应用程序(如优步Uber和来福车Lyft)以及基于以前乘客反馈做出的司机评分。但您无法提前获得的信息就是汽车室内长什么样,有怎样的气味,通过福特申请的“利用气味偏好的运输系统”专利,这些信息再也不会让人有一丝的担心。举例说明,对于声称对花生过敏的乘客,这套系统可以提前确定车上是否存在花生过敏原。如果车上存在过敏原,且数量达到有对该乘客有害的程度,那么拼车乘客将被转移到另一辆车上。
在福特共享出行应用场景中,乘客偏好将被记录在一个APP应用程序中,并与汽车的车载计算机通信,后者将测试车内的气味并将其与预定阈值进行比较。如果有任何气味超过阈值水平,则会将拼车乘客转移到符合气味要求的其他汽车上。
该专利没有详述如何检测这些气味,仅描述了多种不同的传感器,包括光谱仪、色谱仪、光学传感器和金属氧化物半导体传感器。目前用来检测非生物气味最接近的技术是化妆品和食品行业中被称为电子鼻的技术,可以通过化学反应检测化合物样品中的气味。这些化学反应会触发模式识别,从而使设备能够识别出气味来。
福特这套创新专利看起来似乎像是进军共享出行领域的又一佐证,实际上,福特早已与网约车领域的优步Uber和来福车Lyft合作,建立了SharedStreets数据平台,旨在利用数据改善城市交通,目前已经覆盖全球30多个城市。
为了使共享出行更加愉快,福特认为鼻子在其中扮演了重要角色,通过车联网技术能够确定车内是否存在不适的气味,并加以调整进而符合乘客的需求。福特是否能够真正改善实际生活中我们乘车时遇到的气味问题,一切只有时间会证明。


